电子皮带秤是一种工业动态连续计量器具,它在皮带输送系统中对散装物料进行连续计量,因其结构简单、称量准确,使用稳定、操作方便、维护量少等优点,而被广泛地应用于电力、冶金、港口、化工、建材、煤炭、矿山等行业。
一、皮带秤设备组成

1、称重框架:是电子皮带秤的最重要的一部分,它负责皮带秤的荷重承受和重力传递。
2、称重传感器:将物体的重量信号转换为电信号以此来测得物体质量的力传感器。
3、测速传感器:测量皮带在一定是时间内所行走的长度。
4、称重显示控制器:将重力模拟量和皮带速度进行计算和处理得出流量和累计数值并显示出来 。
二、电子皮带秤称重原理
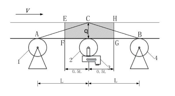
1、称重区间

燃煤在输送皮带上进行输送时,其重力不断地被称重传感器获取。传感器在每一时刻获取的重量都来自与一段特定长度输送带上的物料,这段长度被称为皮带秤的“称量区间”。
称重传感器的受力为:
式中, F -称重传感器的受力;
L —跨距托辊与称重托辊间的距离;
q —输送皮带单位长度上的燃煤重力。
2、称重原理

称重框架中的称重传感器获取皮带秤的重量信号,测速系统的速度传感器获取皮带秤的速度信号,两信号传输到累计器做运算,同时,累计器还会将每一时刻的物料重量进行积分或累加运算后得到物料的累计量。这里的物料瞬时流量通常是指某一瞬间输送皮带上燃煤的通过量,其单位多为吨/小时。而累计量是指在一段时间内(比如3min,1h,8h,24h等)物料累计通过的重量,单位多为吨。
3、瞬时流量和累计量
§
瞬时流量计算
§
当皮带秤输送物料时,连续测量称重托辊上代表单位输送带长度上的荷重值δ(其重力为上面分析的q,即q=δg,g为重力加速度)
并将δ值与同一时刻输送带速度值 v 相乘,所得乘积即为物料的瞬时流量Q(t)
·
累计值计算
·
由于输送带上的物料量不均匀和输送带速度值的变化,所以 T 时间内物料的累计
量 Q 应该是瞬时流量Q(t) 对时间的积分,即:
式中:
δ(t)是输送带单位长度上的瞬时物料质量;
v(t) 是输送带的瞬时速度值。
三、电子皮带秤校准
1、漂移的原因
定期校准:由于皮带秤的零点间隔受到各方面因素影响,使皮带秤的零点和间隔会发生不同程度的漂移,故应定期校验,校验的周期应根据不同的现场要求而定,我厂的零点校准和间隔校准每周一次。
零点漂移的原因:
①石块或异物卡在称重桥架内;
②称重桥架上积灰积料:
③由于物料的温度特性,输送机环形皮带长度有所变化;
④输送皮带粘料;
⑤称重传感器严重过载;
⑥秤架的严重变形;
⑦电子测量单元或仪表故障;
⑧皮带跑偏。
间隔漂移的原因:
①测速滚筒的滑动或其直径的变化;
②输送机皮带张力变化;
③称重传感器严重过载;
④皮带速度的变化;
⑤秤架的严重变形;
⑥电子测量单元或仪表故障。
2、校验
校验电子皮带秤的校验方法有挂码校验、链码校验、实物校验多种,我厂输煤系统电子皮带秤主要采用挂码校验。所谓挂码校验主要是在皮带秤的托辊上悬挂具有标准重量的砝码、亦或者是在称重桥架上,模拟物料运行时的重量数据。
挂码校验的整个过程应包括零点校验和间隔校验。
①零点校验先让皮带空载运行30分钟,再开始零点校验。若零点校验误差在±0. 05%之内,不需要对零点进行改变。这时继续进行零点校准,总共须进行3次。若误差超过±0. 05%,须进行零点改变。再重新进行零点校准,总之要保证在误差范围之内的连续校验次数不少于3次。
②间隔校验零点校验合格后,接着进行间隔校验。在皮带秤运行正常且皮带上干净无煤情况下,将标准挂码缓慢放下至称重桥架上,开始间隔校准。若间隔校验误差在±0.5%之内,不需要对间隔进行改变。继续进行间隔校准,总共须进行2次。若误差超过±0.5%,则须进行间隔改变。重新进行间隔校准。总之要保证在误差范围之内的连续校验次数不少于2次